Горелки для местного нагрева изделий
В некоторых производствах периодически возникает необходимость выполнять монтажные и демонтажные работы с применением местного нагрева отдельных элементов оборудования.
К таким работам относятся операции по замене изношенных бандажей прокатных валков или бандажей вальцевых прессов. Кроме того, при ремонтах, например, турбин приходится снимать и надевать на вал ступицы с турбинными лопатками. Эти элементы имеют горячую посадку на вал. Снять их с вала возможно только при интенсивном нагреве, при котором происходит расширение снимаемого элемента с увеличением его диаметра при минимальном нагреве основной массы вала.
Ниже приведено описание некоторых из разработанных для этой цели горелок.
Горелка для нагрева бандажей ГНБ-0,3
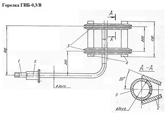
Горелки спроектированы по заданию ОАО "Комбинат Магнезит" с использованием чертежей подогревательного устройства фирмы Копперс (ФРГ) в двух вариантах: для наружного нагрева – ГНБ-0,3/Н, и для внутреннего нагрева – ГНБ-0,3/В. Техническая характеристика горелок приведена в таблице.
| Наименование показателя | Размерность | ГНБ-0,3/Н | ГНБ-0,3/В |
| Тепловая мощность номинальная | кВт | 320 | 200 |
| Расход смеси "природный газ-воздух" | м3/ч | 214 | 163 |
| Номинальное давление смеси перед горелкой | кПа | 20 | 36 |
| Коэффициент избытка воздуха в смеси, подаваемой в горелку | – | 0,6 | 0,75 |
| Коэффициент рабочего регулирования | – | 3,5 | 3,7 |
| Масса горелки | кг | 130 | 23 |
| Габаритные размеры | мм | 1550х1355х360 | 880х360х500 |
Горелка ГНБ-0,3/Н состоит из трех кольцевых коллекторов, установленных на монтажных стойках на расстоянии 130-150 мм друг от друга. В каждый коллектор с двух сторон выполнен подвод газовоздушной смеси. В месте ввода смеси в коллектор установлен огнепреградитель. Выход смеси производится через систему отверстий, расположенную на боковой стенке коллектора, обращенной в сторону нагреваемой поверхности бандажа, который должен быть установлен в центре кольцевых коллекторов вместе с валом, подвешенным на крановой подвеске. В месте выхода смеси из отверстий коллекторов на коллекторе установлены накладки, образующие сплошной щелевой канал, являющейся камерой воспламенения и стабилизации факела.
Горелка ГНБ-0,3/В предназначена для разогрева бандажа при надевании его на вал. Принципиальное устройство горелки такое же, как и у горелки ГНБ-0,3/Н. Отличие заключается в том, что смесевыпускные отверстия и накладки на коллекторе выполняются с его наружной стороны.
1 - подводящий смесепровод; 2 - огнепреградитель; 3 - коллектор;
4 - монтажные стойки; 5 - накладки.
Горелка ГНДТ-0,2
Общий вид горелки ГНДТ-0,2, предназначенной для нагрева ступиц турбинных колес при монтажных работах приведен на рис. Горелка состоит из смесеподводящего патрубка и торообразного коллектора с выходными патрубками, огнепреградителями и съемными наконечниками. Коллектор выполнен в виде полукольца с торцевыми заглушками.
Техническая характеристика горелки:
- тепловая мощность максимальная – 200 кВт;
- номинальное давление газовоздушной смеси перед горелкой – 1,5 кПа;
- коэффициент рабочего регулирования – 3,8;
- номинальный коэффициент избытка воздуха в смеси – 0,9;
- видимая длина пламени – 150 мм.
1 – подводящий смесепровод; 2 – коллектор-полукольцо; 3 – выходной патрубок;
4 – съемный наконечник; 5 – огнепреградитель.
← Назад в раздел


