Горелки типа ГПО
Горелки типа ГПО разработаны для сжигания природного газа в печах ямного типа для обжига анодов. Принцип работы горелок ГПО заключается в частичной инжекции вытекающей струей газа воздуха из окружающей атмосферы и сжигание этой смеси в потоке высокотемпературного вторичного воздуха.
Технические характеристики разработанных горелок приведены в таблице.
| Наименование параметра | Размерность | Типоразмер | |
| ГПО-0,1 | ГПО-0,3 | ||
| Тепловая мощность | кВт | 110 | 300 |
| Расход газа номинальный | м3/ч | 10 | 30 |
| Максимальный расход газа, не более | м3/ч | 17 | - |
| Давление газа | кПа | 80 | 80 |
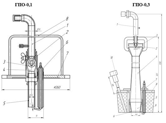
Горелки имеют газоподводяший патрубок, на выходном торце которого, установлено газовое сопло. Смеситель имеет жалюзи для регулируемого подсоса атмосферного воздуха. Он установлен на горелочной плите и соединен с выхлопной трубой, которая входит в канал отверстия свода и обращена в сторону отапливаемого простенка печи. На горелочной плите установлены: электроискровое запальное устройство, патрубок с оптическим датчиком контроля пламени и смотровой патрубок.
Горение смеси происходит за счет воздуха, подсасываемого в смеситель, и за счет смешения с вторичным воздухом.
1 - ствол; 2 - сопло; 3 - дроссель; 4 - смеситель; 5 - выходной наконечник;
6 - стабилизатор; 7 - электрод розжига; 8 - плита; 9 - горелочный камень;
10 - фотодатчик
← Назад в раздел


