Горелки ГМС
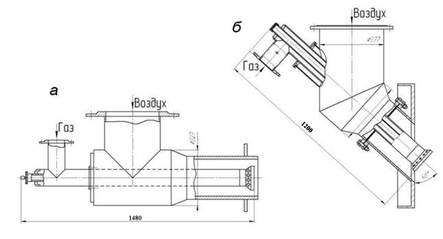
Горелки ГМС включают в себя серию четырех однотипных устройств для сжигания природного газа с номинальными расходами 250, 300, 500 и 700 м3/ч (см. рис). Горелки рассчитаны на использование холодного воздуха и воздуха, подогретого до 350°С.
Центральный канал газовой трубы предназначен для установки мазутной форсунки или запальника.
а - горизонтальная установка, б - то же, наклонная.
1 – корпус; 2 – газовая часть; 3 – стабилизатор; 4 – горелочная плита.
← Назад в раздел


