Горелка ГНПС-0,5/L
Горелка ГНПС-0,5/L предназначена для сжигания природного газа при неполном первичном смешении его с воздухом, эжектируемым в его смеситель. Горелка может использоваться для организации местного нагрева, например, в системах подогрева изложниц литейных машин, при организации тепловых завес и пр.
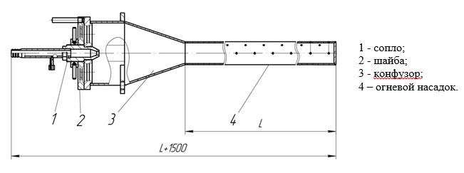
Горелка состоит из входного газового патрубка с соплом, помещенным в центре смесительной камеры, оканчивающейся конфузором, соединенным с огневым насадком, длина которого (параметр L в обозначении) может составлять от 1,5 до 6 м . Во входной части смесительной камеры выполнена дроссельная шайба со стопором, при помощи которой регулируется подсос воздуха в смеситель. По длине огневого насадка выполнены смесевыпускные отверстия с шагом 15 мм. Количество рядов отверстий зависит от длины насадка. При длине насадка 6 м отверстия выполняются в один ряд. На входной части насадка расположена зона зажигания, над которой установлены электроды розжига и контроля пламени с узлами их крепления и коммутации (на рис. не показано).
Техническая характеристика горелки:
- тепловая мощность – 0,5 МВт;
- расход природного газа – 50м3/ч;
- давление газа перед горелкой – не более 0,3 кг/см2 (30 кПа);
- напряжение искрообразования – 8-10 кВ.
Монтажные приспособления для установки горелки изготавливаются дополнительно в зависимости от условий применения.
При работе горелки газовая струя эжектирует в смеситель воздух из окружающей атмосферы. Образовавшаяся смесь при коэффициенте избытка воздуха около 0,15-0,2 заполняет огневой насадок и вытекает из отверстий его корпуса. После воспламенения в зоне зажигания от переносного запальника или от искрового разряда пламя распространяется по всей длине насадка. При работе горелки с длиной корпуса 6 м на номинальной нагрузке видимая высота пламени от оси огневого насадка составляет от 0,8 до 1,0 м. Догорание газа происходит при подмешивании в образовавшееся пламя воздуха из окружающей атмосферы.
← Назад в раздел


