Горелка ГСМ-2,0для спортивного монумента ("Олимпийский огонь")
Горелочное устройство ГСМ-2,0 предназначено для сжигания природного газа на спортивном монументе, типа "Олимпийский огонь" при выполнении триумфальных мероприятий.
Характеристики горелки:
- тепловая мощность – не более 2,0 МВт;
- номинальный расход газа – не более 200 м3/ч;
- давление газа перед горелкой – не более 15 кПа;
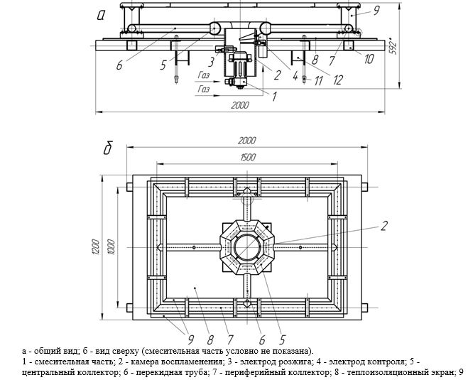
Газовая горелка в сборе показана на рис. Она состоит из ветроустойчивой смесительной части, камеры воспламенения и контроля дежурного факела, газового коллектора с ветрозащитным контуром, теплозащитного экрана и опорной рамы.Все элементы собраны как единый узел, устанавливаемый на установочный монтажный комплекс.
Центральная часть экрана имеет окно для размещения камеры горения и ветроустойчивой смесительной части.
Горелка имеет два подвода газа. Один подвод выполнен к смесительной газовоздушной части, другой – к газовому коллектору.
← Назад в раздел


