Горелка скоростная ГСКД
На стадии разработки и испытания находится газовая горелка скоростного типа, предназначенная для сжигания промышленных газов типа коксового и доменного, а также их смесей. Особенностью газов являются наличие в них остатков смолы, бензола, нафталина, влаги и пыли. Эти компоненты отлагаются на поверхностях горелки и препятствуют ее работе.
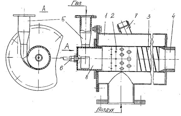
В разработанном варианте конструкции эти особенности газа учтены. Подвод газа выполнен в виде вихревой камеры с тангенциальным патрубком.
При работе горелки топливный газ вводится в вихревую камеру через щелевой канал.
При работе такой горелки в ее корпусе и камере горения не скапливаются коксовые и пылевые отложения, препятствующие нормальной эксплуатации.
При тестовых испытаниях горелки при сжигании природного газа расход газа составлял 40 м /ч, давление газа 430 мм вод.ст., давление воздуха - 650 мм вод.ст., а= 1,05.
1 - корпус; 2 - камера горения; 3 - то же, смешения; 4 - выходное сопло;
5 - газоподводящий патрубок; 6 - свеча запальная; 7 - патрубок для фотодатчика;
8 - вихревая камера
← Назад в раздел


