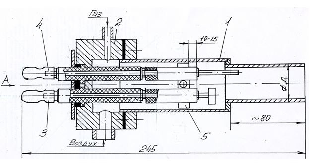
Газовый запальник ГЗРК-10
Выходной наконечник горелки может выполняться диаметром от 20 до 48 мм.
Расход газа - 1м³/ч
Давление газа - до 3,0 кПа
1 – корпус; 2 – газо-воздухоприемная камера; 3 – электрод розжига; 4 – то же, контроля;
5 – стабилизатор (Патрубки подвода гази воздуха показаны условно).
← Назад в раздел


