Горелки вихревые для газов с низкой теплотой сгорания
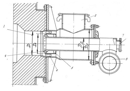
Горелки разработаны для сжигания промытленных загрязненных газов преимущественно для условий горения повышенным коэффициентом расхода воздуха. Общий вид горелкипоказан на рисунке, а техническая характеристика приведена в таблице.
|
Наименование параметра |
Размерность |
Характеристика газа, теплота сгорания, ккал/м3 | ||
|
газ фосфорных печей, 2200,0 |
генераторный газ, 1700,0 |
коксодоменная смесь, 3600 | ||
|
Расход газа |
м3ч |
530 |
700 |
1900 |
|
Давление газа |
кПа |
1,4 |
1 ,9 |
2,5 |
|
Давление воздуха |
кПа |
1,3 |
1 ,35 |
2,5 |
|
Коэффициент расхода воздуха |
- |
1 ,9+2,7 |
1,6+2,8 |
1,9+2,5 |
|
Характерный размер: |
D D1 D2 Dз |
280 159 100 370 |
375 219 120 530 | |
Особенностью горелок является истечение газа одной струей в вихревой поток воздуха, проходящего завихритель. Причем, газ предварительно в выходном сечении интенсивно перемешивается с непересекающимися струями воздуха.
← Назад в раздел


