Горелка ветроустойчивая ГВД для мемориальных комплексов
Горелочное устройство ГВД предназначено для сжигания природного или сжиженного газа в мемориальных комплексах типа "Вечный огонь".
Основные параметры горелки:
- тепловая мощность – не более 20 кВт;
- номинальный расход газа (природного) – не более 2,0 м3/ч;
- давление газа перед горелкой – не менее 2,0 кПа.
- Габаритные размеры (без установочного комплекта), мм:
- длина – 250;
- ширина – 90;
- высота – 90.
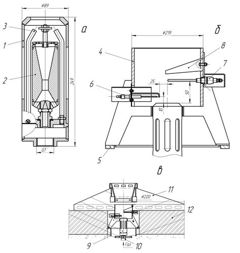
В состав поставляемого оборудования входит собственно горелка и камера сгорания с вспомогательными элементами (см. рис.). На этом же рисунке приведен пример рекомендуемого размещения горелки в пьедестале.
Горелка представляет собой устройство с частичным предварительным смешением газа с воздухом и воспламенением смеси на стабилизаторе и горением основной массы газа в диффузионном факеле.
Для придания зрелищности факелу сжигание газа производится с недостатком воздуха.
а - общий вид; б - размещение в камере горения; в - установка в мемориальном комплексе.
1 - корпус; 2 - смеситель; 3 - сопла; 4 - камера горения; 5 - опорный фланец;
6 - электрод розжига; 7 - электрод контроля; 8 - защитный козырёк;
9 - установочная труба; 10 - газопровод; 11 - декоративное украшение; 12 - пьедестал.
← Назад в раздел


