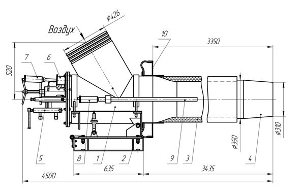
Горелка ГВцП-7
Горелка ГВцП-7 разработана применительно к использованию ее на вельц-печи при сжигании мазута. Горелка состоит из воздухоподводящего корпуса, мазутной форсунки, запального устройства и опорно-поворотного устройства. В горелке применен лопаточный аксиальный завихритель воздуха с приводом. Распыливание топлива производится пневматической форсункой.
1 - корпус; 2 - опорно-поворотное основание; 3 - теплоизоляция;
4 - наконечник; 5 - форсунка; 6 - запальное устройство; 7 - фотодатчик запальника; 8 - основной фотодатчик; 9 - визирная труба; 10 - прижимное кольцо.
← Назад в раздел


