Скоростные горелки
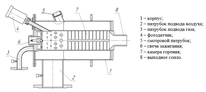
К короткофакельным горелкам можно отнести устройства со встроенной камерой горения, показанные на рисунке. Технические характеристики приведены в таблице.
| Наименование параметра | Размерность | Типоразмер | |||||
| ГС-30 | ГС-120 | ТГЦ-30 | ГС-60 | ГГН-500 | ГГН-1,0 | ||
| Номинальная тепловая мощность | МВт | 0,05 | 0,12 | 0,2 | 0,6 | 0,6 | 1 |
| Расход природного газа | м3/ч | 3 | 12 | 20 | 60 | 60 | 100 |
| Давление газа | кПа | 1,3 | 1,8 | 2 | 8 | 5 | 5 |
| Давление воздуха | кПа | 1,4 | 1,7 | 6,5 | 350 | 350 | |
| Коэффициент рабочего регулирования | 4 | 4 | 5 | 5 | 6,5 | 6,5 | |
Камера горения расположена в воздушном корпусе горелки и выполнена перфорированной по всей длине. Перфорация выполнена различными отверстиями в связи с различным назначением её передней и задней частей. Передняя часть камеры – зона предварительного смешения, воспламенения и горения; задняя часть – зона вторичного смешения.
Горелочный камень для работы горелки не требуется.
Разработано шесть типоразмеров горелок. Горелки отличаются тепловой мощностью и элементами смесителей. Горелка ГГН-500 может поставляться в варианте для сжигания жидкого топлива.
Воспламенение образовавшейся смеси производится от искрового разряда свечи зажигания или от пламени встроенного запальника.
Горелка ГС-30 (ГС-60)
Горелка ГГН-1 (с разделением зон горения и смешения)
1 - корпус; 2- пламенная труба; 3 - завихритель; 4 - газовое сопло; 5 - подпорное колесо;
6 - запальное устройство; 7 - дроссельный клапан; 8 - перегородка; 9 - фотодатчик.
К горелкам скоростного типа относится устройство ГПН-4, мощностью 4,0 МВ.
Горелка разработана для получения высокотемпературного и высокоскоростного факела, способного расплавлять тугоплавкие отложения (настыли), возникающие на футерованных поверхностях отражательных печей и их дымоотводящих каналов.
Регулирующее устройство предназначено для перераспределения потоков газа, вытекающих из отверстий газового сопла. Оно состоит из дросселя, тяги, шарнирного механизма, сальникового уплотнения, штурвала, фиксатора и указателя степени открытия дросселя
Горелка ГПН-4,0 (без опорно-поворотного механизма)
← Назад в раздел


